
產品類別:皮帶輸送機系列
產品簡介:擋邊式皮帶輸送機是一種新型連續輸送設備,它具有輸送量大(同其它輸送機相比,輸送能力提高1.5~2倍);其通用性強(基本件與通用型帶式輸送機相同),適用范圍廣(適用于輸送碎石、石灰石、煤炭、砂、粘土、燒結砂粉、木屑、糧食等塊度不大于550mm的物料)。
全國統一銷售熱線:0373-268 2333
擋邊式皮帶輸送機是一種新型連續輸送設備,它具有輸送量大(同其它輸送機相比,輸送能力提高1.5~2倍);其通用性強(基本件與通用型帶式輸送機相同),適用范圍廣(適用于輸送碎石、石灰石、煤炭、砂、粘土、燒結砂粉、木屑、糧食等塊度不大于550mm的物料)。

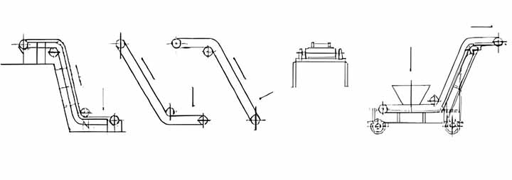
擋邊式皮帶輸送機工作原理: 擋邊帶式輸送機其結構是在平形橡膠運輸帶兩側粘上可自由伸縮的橡膠波形立式“裙邊”,在裙邊之間又粘有一定強度和彈性的橫隔板組成匣形斗,使物料在斗中進行連續輸送。擋邊帶式輸送機可廣泛用于煤炭、糧食、建材、化工、水電和冶金等部門,在環境溫度為-19℃~+40℃范圍內,輸送堆積比重為0.5-2.5t/m3的各種散狀物料。對于輸送有特殊要求的物料,如高溫、具有酸、堿性、油類物質或有機溶劑等成分的物料,需采用特殊的擋邊輸送帶。
擋邊式皮帶輸送機可實現高傾角輸送,傾角通常可達 30° 至 90°,能適應各類陡峭輸送場景。其輸送量穩定,單小時輸送量可覆蓋10至200立方米,滿足連續物料轉運需求。設備配有擋邊與隔板結構,物料在輸送過程中不易散落,可減少物料損耗。機身可根據現場空間水平、傾斜或垂直布置,長度可按需調整,常見帶寬為 500mm 至 1400mm,帶速多控制在 0.8m/s 至 2.5m/s,適配多種物料的輸送作業。

擋邊式皮帶輸送機由于獨特的擋邊式結構,因此在化工、糧食等行業中可以調整角度的大小,具體的用途如下。
1.擋邊帶式輸送機為一般用途的散狀物料連續輸送設備,采用的是具有波狀擋邊和橫隔板的輸送帶。因此,特別適用于大傾角輸送。
2.該機可用于煤炭、化工、建材、冶金、電力、輕工、糧食、港口、船舶等行業,在工作環境濕度為-15℃--+40℃的范圍內輸送堆積比重為0.5-2.5t/m3的各種散狀物料。
3.對于輸送有特殊要求的物料,如:高溫、具有酸、堿、油類物質或有機溶劑等成份的物料,需采用特殊的輸送帶。
4.擋邊帶式輸送機輸送傾角0°-90°范圍內。


山西一個砂石加工場地以前用的是普通的皮帶機轉運石料,傾角只能控制在 16° 以內,需要分段鋪設 3 條設備,機器每小時輸送量約 180 噸,場地占用寬度達 8 米,轉運過程中石料散落頻繁,而且人工清理消耗的時間較多。換上擋邊式皮帶輸送機后,把輸送傾角提升至 45°,單臺設備就可以完成從料倉到篩分樓的垂直提升,每小時輸送量穩定在 320 噸,場地占用寬度縮減到了 3 米,皮帶邊緣的波紋擋邊與隔板的配合,減少了石料的掉落,也省去了分段轉運的銜接環節,日常巡檢與清理的工作量也隨之得到了下降。

Tags:擋邊式皮帶輸送機,皮帶輸送機,擋邊式帶式輸送機